本發明公開了一種用于污水處理的生態凈化工藝,將污水排放到凈化設備的調節池中對污水的流量進行調節;將調節后的污水通過格柵過濾后通入到沉淀池中,啟動攪拌機構,進行沉淀,然后將上層清水通過進水管輸送到過濾機構中,再啟動電機,電機帶動轉盤轉動,轉盤帶動長斜桿和短斜桿轉動,長斜桿和短斜桿通過頂桿帶動第一斜板上下運動;本發明通過攪拌機構進行攪拌沉淀,然后再通過濾網過濾,除去雜質及其他污染物,并通過活性炭棒吸附,除去異味,最后,經過水生植物、泥炭基和毛細管過濾層凈化,處理后的污水水質可達CODcr 35~50mg/L,BOD5 7~10mg/L,SS 3~5mg/L,滿足生產回用水的要求。

權利要求書
1.一種用于污水處理的生態凈化工藝,其特征在于,包括以下步驟:
步驟一、將污水排放到凈化設備的調節池(8)中對污水的流量進行調節;
步驟二、將調節后的污水通過格柵(9)過濾后通入到沉淀池(2)中,啟動攪拌機構(12),攪拌20-30分鐘,進行沉淀,然后將上層清水通過進水管(20)輸送到過濾機構(19)中,再啟動電機,電機帶動轉盤(16)轉動,轉盤(16)帶動長斜桿(15)和短斜桿(17)轉動,長斜桿(15)和短斜桿(17)通過頂桿(18)帶動第一斜板(14)上下運動,使得第一斜板(14)上的污泥滑到第一斜板(14)最底端,并通過污泥泵(3)和管道將污泥抽到烘干機構(4)中烘干;
步驟三、上述上層清水進入過濾機構(19)中后,首先通過濾網(194)過濾,除去雜質,然后通過活性炭棒(197)吸附,除去異味,最后由排水管(21)通入到凈化池(6)中,然后依次經過水生植物(25)、泥炭基(24)和毛細管過濾層(23)凈化,最終通過排水孔(10)排出凈化后的水。
2.根據權利要求1所述的一種用于污水處理的生態凈化工藝,其特征在于,所述水生植物(25)為挺水植物、沉水植物和浮水植中至少一種。
3.根據權利要求1所述的一種用于污水處理的生態凈化工藝,其特征在于,所述毛細管過濾層(23)由粗細砂、灰渣和海棉按照質量比為1:1:2組成。
4.根據權利要求1所述的一種用于污水處理的生態凈化工藝,其特征在于,所述烘干機構(4)的工作步驟為:通過污泥泵(3)將污泥抽到斜網(414)上,振動電機(415)工作,帶動斜網(414)振動,斜網(414)上的污泥滑到輸送帶(410)上,水分則可通過排水漏斗(43)排出,驅動熱風機(45)工作,熱風通過導向板(46)、第一擋板(47)和第二擋板(48)后對輸送帶(410)上的污泥進行烘干,并開啟驅動電機(411),帶動輸送輥(413)轉動,輸送輥(413)帶動輸送帶(410)轉動,將輸送帶(410)上的污泥輸送到第二斜板(412)上,由第二斜板(412)滑到排料管(49)排出。
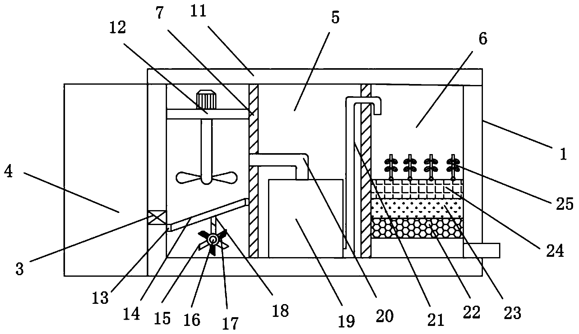
5.根據權利要求1所述的一種用于污水處理的生態凈化工藝,其特征在于,所述凈化設備包括凈化箱(1),所述凈化箱(1)的頂部設置有玻璃蓋(11),所述凈化箱(1)通過兩塊隔板(7)被分為沉淀池(2)、調節池(8)、過濾池(5)和凈化池(6),所述沉淀池(2)和調節池(8)之間通過格柵(9)分開,所述沉淀池(2)的內部設置有攪拌機構(12),所述沉淀池(2)的內壁兩側均通過橡膠墊(13)與第一斜板(14)連接,所述第一斜板(14)的底部中心處固定安裝有頂桿(18),所述第一斜板(14)的正下方設置有轉盤(16),所述轉盤(16)由電機驅動轉動,所述轉盤(16)的外部交叉設置有長斜桿(15)和短斜桿(17),所述長斜桿(15)和短斜桿(17)均與頂桿(18)配合使用;
所述沉淀池(2)通過進水管(20)與過濾池(5)內部設置的過濾機構(19)連接,所述過濾機構(19)包括過濾箱(191)、吸附箱(192)、伺服電機(193)、濾網(194)、齒條(195)、齒輪(196)、活性炭棒(197)、卡環(198)、螺栓(199)、卡座(1910)和固定板(1911),所述過濾箱(191)的兩側分別嵌入安裝有伺服電機(193),所述伺服電機(193)上的輸出軸與齒輪(196)連接,所述過濾箱(191)的內部滑動連接有濾網(194),所述濾網(194)的頂部兩側對稱安裝有齒條(195),所述齒條(195)與齒輪(196)嚙合連接,所述過濾箱(191)的底部設置有吸附箱(192),所述吸附箱(192)的內部均勻設置有多個卡座(1910),所述卡座(1910)上一端鉸鏈連接有卡環(198),所述卡環(198)的一側設置有固定板(1911),所述固定板(1911)與卡座(1910)上另一端通過螺栓(199)連接,所述卡座(1910)和卡環(198)用于固定活性炭棒(197);
所述過濾機構(19)的底部通過排水管(21)與凈化池(6)連接,所述凈化池(6)的內部由上到下依次設置有水生植物(25)、泥炭基(24)、毛細管過濾層(23)和承托架(22),所述凈化池(6)的一側設置有排水孔(10);
所述沉淀池(2)的一側通過污泥泵(3)將污泥抽到烘干機構(4)中烘干。
6.根據權利要求5所述的一種用于污水處理的生態凈化工藝,其特征在于,所述烘干機構(4)包括擋料箱(41)、支架(42)、排水漏斗(43)、烘干箱(44)、熱風機(45)、導向板(46)、第一擋板(47)、第二擋板(48)、排料管(49)、輸送帶(410)、驅動電機(411)、第二斜板(412)、輸送輥(413)、斜網(414)、振動電機(415)和彈簧(416),所述支架(42)上設置有排水漏斗(43),所述支架(42)的頂部一端通過彈簧(416)與斜網(414)連接,所述斜網(414)的底部靠近彈簧(416)的一端固定安裝有振動電機(415),所述斜網(414)的另一端與支架(42)活動連接,所述斜網(414)外部設置有擋料箱(41),所述支架(42)的一側固定安裝有烘干箱(44),所述烘干箱(44)的頂部固定安裝有熱風機(45),所述烘干箱(44)的內部由上到下依次設置有導向板(46)、第一擋板(47)和第二擋板(48),所述第二擋板(48)的正下方設置有套接在兩輸送輥(413)上的輸送帶(410),所述輸送輥(413)由驅動電機(411)驅動,所述輸送帶(410)的正下方設置有兩第二斜板(412),兩第二斜板(412)之間通過排料管(49)連接。
說明書
一種用于污水處理的生態凈化工藝
技術領域
本發明涉及污水處理技術領域,具體涉及一種用于污水處理的生態凈化工藝。
背景技術
隨著我國社會經濟的高速發展,新農村建設及小城鎮化進程的不斷向前推進,農村水環境污染日益突出,近年來,我國農村污水的排放量在以每年15%的速度增加,在我國2200座縣城與19200個建制鎮中,污水排放量已占全國污水排放總量的一半以上,而我國目前農村污水集中處理率僅為0.5%左右,全國超過99%的農村污水未經任何有效的收集處理就直接排放到附近的水體,致使水體的水質大幅下降,甚至使其喪失作為工農業用水功能。這種狀況不僅嚴重的影響了農民的生活環境,而且也嚴重的影響了新農村生態建設的進程。因此,研究開發農村污水凈化回用技術已經成為新農村水環境建設中的一項重要內容。
農村污水包括人畜糞便污水、廚房洗滌廢水及小型企業生產廢水,在專利號為CN105384305B公開了一種生活污水處理工藝,在污水處理過程中,雖然利用化學和生物作用可降解污水中的有機污染物,但是該方法凈化效果差,只適用于輕度水污染,并且添加各種污水處理試劑,會造成二次污染,凈化后的水不能作為回水適用;污水在進行沉淀的過程中,會將沉淀排出烘干,現有的設備,不便于排出污泥,同時烘干過程中熱空氣溫度不均勻,導致烘干效果差;在對污水進行過濾的過程中,由于濾網活性炭棒不易更換,容易到達飽和狀態,導致過濾和吸附的效果差。
發明內容
為了克服上述的技術問題,本發明的目的在于提供一種用于污水處理的生態凈化工藝:
1、本發明通過攪拌機構進行攪拌沉淀,然后再通過濾網過濾,除去雜質及其他污染物,并通過活性炭棒吸附,除去異味,最后,經過水生植物、泥炭基和毛細管過濾層凈化,處理后的污水水質可達CODcr 35~50mg/L,BOD5 7~10mg/L,SS 3~5mg/L,滿足生產回用水的要求;
2、本發明通過長斜桿和短斜桿交叉設置,便于帶動第一斜板振動,排出污泥,同時通過導向板、第一擋板和第二擋板的設置能夠使得熱空氣較長時間的停留在烘干箱中,使得烘干箱中的熱空氣溫度均勻,烘干效果好;
3、本發明通過齒輪和齒條的設置,便于更換濾網,通過卡環和卡座的設置,便于更換活性炭棒,利于提高過濾和吸附的效果。
本發明的目的可以通過以下技術方案實現:
一種用于污水處理的生態凈化工藝,包括以下步驟:
步驟一、將污水排放到凈化設備的調節池中對污水的流量進行調節;
步驟二、將調節后的污水通過格柵過濾后通入到沉淀池中,啟動攪拌機構,攪拌20-30分鐘,進行沉淀,然后將上層清水通過進水管輸送到過濾機構中,再啟動電機,電機帶動轉盤轉動,轉盤帶動長斜桿和短斜桿轉動,長斜桿和短斜桿通過頂桿帶動第一斜板上下運動,使得第一斜板上的污泥滑到第一斜板最底端,并通過污泥泵和管道將污泥抽到烘干機構中烘干;
步驟三、上述上層清水進入過濾機構中后,首先通過濾網過濾,除去雜質,然后通過活性炭棒吸附,除去異味,最后由排水管通入到凈化池中,然后依次經過水生植物、泥炭基和毛細管過濾層凈化,最終通過排水孔排出凈化后的水。
作為本發明進一步的方案:所述水生植物為挺水植物、沉水植物和浮水植中至少一種。
作為本發明進一步的方案:所述毛細管過濾層由粗細砂、灰渣和海棉組成。
作為本發明進一步的方案:所述烘干機構的工作步驟為:通過污泥泵將污泥抽到斜網上,振動電機工作,帶動斜網振動,斜網上的污泥滑到輸送帶上,水分則可通過排水漏斗排出,驅動熱風機工作,熱風通過導向板、第一擋板和第二擋板后對輸送帶上的污泥進行烘干,并開啟驅動電機,帶動輸送輥轉動,輸送輥帶動輸送帶轉動,將輸送帶上的污泥輸送到第二斜板上,由第二斜板滑到排料管排出。
作為本發明進一步的方案:所述凈化設備包括凈化箱,所述凈化箱的頂部設置有玻璃蓋,所述凈化箱通過兩塊隔板被分為沉淀池、調節池、過濾池和凈化池,所述沉淀池和調節池之間通過格柵分開,所述沉淀池的內部設置有攪拌機構,所述沉淀池的內壁兩側均通過橡膠墊與第一斜板連接,所述第一斜板的底部中心處固定安裝有頂桿,所述第一斜板的正下方設置有轉盤,所述轉盤由電機驅動轉動,所述轉盤的外部交叉設置有長斜桿和短斜桿,所述長斜桿和短斜桿均與頂桿配合使用;
所述沉淀池通過進水管與過濾池內部設置的過濾機構連接,所述過濾機構包括過濾箱、吸附箱、伺服電機、濾網、齒條、齒輪、活性炭棒、卡環、螺栓、卡座和固定板,所述過濾箱的兩側分別嵌入安裝有伺服電機,所述伺服電機上的輸出軸與齒輪連接,所述過濾箱的內部滑動連接有濾網,所述濾網的頂部兩側對稱安裝有齒條,所述齒條與齒輪嚙合連接,所述過濾箱的底部設置有吸附箱,所述吸附箱的內部均勻設置有多個卡座,所述卡座上一端鉸鏈連接有卡環,所述卡環的一側設置有固定板,所述固定板與卡座上另一端通過螺栓連接,所述卡座和卡環用于固定活性炭棒;
所述過濾機構的底部通過排水管與凈化池連接,所述凈化池的內部由上到下依次設置有水生植物、泥炭基、毛細管過濾層和承托架,所述凈化池的一側設置有排水孔;
所述沉淀池的一側通過污泥泵將污泥抽到烘干機構中烘干。
作為本發明進一步的方案:所述烘干機構包括擋料箱、支架、排水漏斗、烘干箱、熱風機、導向板、第一擋板、第二擋板、排料管、輸送帶、驅動電機、第二斜板、輸送輥、斜網、振動電機和彈簧,所述支架上設置有排水漏斗,所述支架的頂部一端通過彈簧與斜網連接,所述斜網的底部靠近彈簧的一端固定安裝有振動電機,所述斜網的另一端與支架活動連接,所述斜網外部設置有擋料箱,所述支架的一側固定安裝有烘干箱,所述烘干箱的頂部固定安裝有熱風機,所述烘干箱的內部由上到下依次設置有導向板、第一擋板和第二擋板,所述第二擋板的正下方設置有套接在兩輸送輥上的輸送帶,所述輸送輥由驅動電機驅動,所述輸送帶的正下方設置有兩第二斜板,兩第二斜板之間通過排料管連接。
本發明的有益效果:
1、本發明將污水通過攪拌機構進行攪拌沉淀,然后再通過濾網過濾,除去雜質及其他污染物,并通過活性炭棒吸附,除去異味,最后,經過水生植物、泥炭基和毛細管過濾層凈化,污水不斷和各類水生植物枝葉及發達的根系網絡進行接觸,水生植物發達的根系網絡,通過分泌粘液,成為微生物的附著基質,尤其是對污水中的殘留雜質產生有效的微生物絮凝、沉淀、吸附、滲濾分解,從而實現將污水中殘留的有機物及磷、氮等無機物進行降解和轉化;水中殘留的有機物及氮磷不斷被水生植物根系網絡所截留降解并吸收,隨后水流在其重力的作用下,進入毛細管過濾層,由于毛細管過濾層具有理想的土壤機質特性,有機質含量豐富,因此毛細管過濾層團粒結構發達,滲透速度高,毛細作用強,吸附容量大,通透性較好,同時,毛細管過濾層中富含微生物所必須的營養和能源物質,加之適宜的毛細管過濾層性狀為微生物提供了良好的生存發育環境,因此,毛細管過濾層具有較高的生物活性;被阻隔和吸附在毛細管過濾層中的有機污染物在微生物的作用下,經生物化學反應被分解轉化成無機物,進行多級處理,處理后的污水水質可達CODcr 35~50mg/L,BOD5 7~10mg/L,SS 3~5mg/L,滿足生產回用水的要求;
2、污水在沉淀池進行沉淀的過程中,通過電機帶動轉盤轉動,轉盤帶動長斜桿和短斜桿轉動,長斜桿和短斜桿交叉設置,且與頂桿配合使用,長斜桿和短斜桿通過頂桿帶動第一斜板上下運動,使得第一斜板上的污泥滑到第一斜板最底端,利于將第一斜板上的污泥振落,避免第一斜板上存集污泥,不易排出;同時降低沉淀池中污泥沉淀量,不會對污水進行二次污染;通過污泥泵將污泥抽到斜網上,振動電機工作,在彈簧的作用下,帶動斜網振動,斜網上的污泥滑到輸送帶上,部分水分則可通過排水漏斗排出,能夠保證污泥進入烘干箱之后,減少烘干設備負荷,也能夠快速的對污泥進行烘干,驅動熱風機工作,熱風通過導向板、第一擋板和第二擋板后對輸送帶上的污泥進行烘干,導向板、第一擋板和第二擋板的設置能夠使得熱空氣較長時間的停留在烘干箱中,使得烘干箱中的熱空氣溫度均勻,有效的將輸送帶上的污泥進行烘干,然后排出;可將沉淀的污泥快速烘干進行回收,可再次利用,節省資源;
3、污水經過過濾機構過濾的過程中,通過啟動伺服電機,帶動齒輪轉動,齒輪與齒條嚙合連接,從而帶動濾網滑出過濾箱,反之即可將其插入過濾箱中,便于對濾網表面進行處理,除去濾渣,提高其過濾效果,利于其更換和維修;通過將活性炭棒放在卡座上,然后蓋上卡環并通過螺栓固定,便于更換活性炭棒,避免活性炭棒達到飽和,吸附效果差。